Топ-100 Sony создает очки виртуальной реальности для PS4
  • 28 декабря, 23:19
  • Астана
  • Weather icon -13
  • 520,93
  • 609,07
  • 6,68

Sony создает очки виртуальной реальности для PS4

Фото: hi-news.ru

Компания зарегистрировала два патента

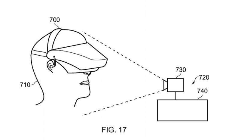
Компания Sony на днях зарегистрировала два патента, которые могут указывать на не что иное, как очки виртуальной реальности, гарнитуру, которая позволит пользователям PlayStation 4 полностью погружаться в игровой процесс, пишет Hi-news.ru.

Патент включает аудиосистему и носимый на голове дисплей, что приводит новые доказательства того, что Sony разрабатывает конкурентное Oculus Rift устройство.

Аудиосистема в патенте расписывается не слишком подробно, но включает целый ряд методов для оповещения игрока в случае чрезвычайной ситуации. Например, если плачет ребенок, сработала пожарная сигнализация или что-то движется по направлению к голове. Из всего этого рождается предположение, что финальная версия устройства будет полностью шумоподавляющей, а значит, игрок не сможет в полной мере контролировать окружающее его звуковое пространство.

Так называемый патент HMD (head-mounted display) также охватывает средства определения движений и стабилизации изображения и был подан еще в мае 2013 года. Содержание и сопровождающие схемы не предоставляют достаточной информации о том, какой именно будет гарнитура виртуальной реальности Sony, но, как мы знаем, компания умеет тщательно скрывать первые наброски своих устройств.

Патенты были поданы командой Sony WWS Stereoscopic Team, а именно старшим инженером Яном Бикерстаффом и старшим менеджером по развитию PlayStation в Европе Саймоном Бенсоном. Оба разработчика работали в Evolution Studios, компании-разработчике DriveClub. Именно там, как предполагается, и проходит испытание гарнитуры виртуальной реальности Sony.

Источники предполагают, что гарнитуру должны были показать на Gamescom 2013, однако в последнюю минуту руководство приняло решение оттянуть момент правды до 2014 года.

Смотрите также:

Предложить новость

Спасибо за предложенную новость!

Надеемся на дальнейшее сотрудничество.


×